Преимущества и недостатки
При рассмотрении диммеров необходимо понимать их слабые и сильные стороны.
Плюсы:
- Автоматическое включение / выключение.
- Возможность дистанционного управления голосом, хлопком, через радиоканал или ИК-канал, а также по Wi-Fi сети.
- Имитирование присутствия человека, что позволяет отпугнуть злоумышленников от дома / квартиры, когда хозяин находится в другом месте. Для этого задается определенная программа, которая в определенный момент включает / включает свет в разных помещениях.
- Плавное включение / выключение светильника, что позволяет исключить броски тока и снижает риск перегорания.
- Возможность кардинально изменить дизайн помещения и создать необходимую атмосферу.
- Увеличение срока службы источников света
- Экономия электричества на 10-15%.
- Экономия на покупке сложных светильников и люстр. Регулировка яркости происходит с помощью диммера без применения большого количества ламп.
- Возможность подключения к системе «умный дом» и настройка режимов по времени / команде.
Минусы:
- Узкая сфера применения и возможность использование светорегулятора для тех источников, которые он поддерживает.
- Высокая степень риска при работе с движущимися инструментами / механизмами. Появление стробоскопического эффекта может привести к искажению реальной картинки.
- Риск появления ЭМ помех, в том числе на радиочастотах.
- Низкая КПД при использовании вместе с лампами накаливания. Зачастую проще использовать менее мощные лампы накаливания, диммерные схемы или светорегуляторы для светодиодных ламп.
- Связь между регулированием напряжения на выходе и сопротивлением нагрузки имеет нелинейный характер.
- Мощность светорегулятора должна быть равна, а лучше на 20-50% больше общей нагрузки источников света.
- Невозможность применения диммеров с люминесцентными лампами и источниками света с дополнительными устройствами: драйвером, трансформатором, ЭПРА и т. д. Исключением являются модели, которые специально предназначены для использования со светорегуляторами. Некоторые компании уже занимаются разработкой таких устройств.
- Несинусоидальная форма напряжения на выходе, из-за чего нет возможности подключить понижающие трансформаторы.
- Для нормальной работы может потребоваться обновление проводки и проведение косметических ремонтных мероприятий.
- Чувствительность к температурным перепадам. Диммер боится как жары, так и холода.
На тиристорах
Такая модель диммера на тиристорах по принципу действия идентична предыдущему варианту, но вместо симистора в роли ключа выступают тиристоры. Из-за особенностей работы тиристора целесообразнее устанавливать такое электронное устройство для каждой полуволны синусоиды напряжения.
Пример схемы такого диммера приведен на рисунке ниже:
Схема регулятора на тиристорах
Начнем разбор работы схемы с положительного полупериода кривой напряжения – конденсатор C1 заряжается по цепи из токоограничивающих резисторов R3 — R4 — R5. Когда величина заряда достигнет порогового значения для динистора V3, он открывается и подает управляющий импульс на тиристор V1. В режиме ключа V1 начинает пропускать напряжение к нагрузке, выдавая определенный участок кривой напряжения.
При отрицательном полупериоде синусоиды V1 запирается, ток через него протекать не будет, а на конденсатор C2 через токозадающую цепь R1 – R2 — R5 будет поступать заряд, который со временем откроет динистор V4. Через него будет протекать ток на управляющий электрод тиристора V2, после открытия транзистора на нагрузку пойдет такая же часть полупериода синусоиды, но с противоположным знаком.
Такой регулятор мощности светового потока может использоваться не только для изменения яркости освещения ламп, но и для управления температурой нагрева паяльника и других устройств.
Тиристорная схема
Тиристорная схема диммера на 220 вольт приведена на рисунке ниже.

Тиристоры обозначены литерами V1 и V2
Обратите внимание, что они включены встречно, поскольку каждый пропускает часть полуволны синусоиды одного знака. Напряжения отпирания динисторов V3 и V4 регулируется рассеивающим энергию реостатом R5
Схема имеет две времязадающие цепочки: V3–C1 и V3–C2. В зависимости от уровня отпирающего напряжения на переменном резисторе R5 изменяется время зарядки конденсаторов, при разряде которых открываются ключи V1 и V2. Этим и определяется фаза пропускания синусоиды. Тиристоры можно найти в силовых схемах старых бытовых приборов – телевизоров или пылесосов.
Простейшая схема
Рассмотрим, как подключить диммер моноблочного типа. Это модель самая распространённая, её чаще других подключают самостоятельно и монтируют вместо выключателя.
Установка диммера в сеть производится точно так же как и выключателя, на разрыв фазы, последовательно с нагрузкой. Особенный момент – нельзя перепутать фазу и ноль. Если вы подключите регулятор неправильно и установите его на разрыв нуля, произойдёт повреждение электронной схемы и выход её из строя.
Поэтому, прежде всего, необходимо определить фазный провод. Алгоритм этих действий будет следующий:
Отключите автомат, которым подаётся напряжение на рабочее место. То есть, это может быть вводной автомат на всю квартиру, либо на эту комнату.
Проверьте отсутствие напряжения, и демонтируйте выключатель. Снимите клавишу, защитную панель, отсоедините провода от входной и выходной клеммы и вытащите рабочий механизм из подрозетника.
У нас освободились два провода, необходимо узнать, где из них фазный, приходящий из распределительной коробки. Включите снова питающий автомат и аккуратно при помощи индикаторной отвёртки прикоснитесь к обоим проводам. Та жила, при соприкосновении с которой загорелось окошко на индикаторе, и есть нужная фаза. Прикоснитесь ко второй жиле, окошко не светится, значит, это – провод, идущий уже от выключателя на осветительный прибор
Осторожно маркером или кусочком изоляционной ленты наметьте нужный фазный провод.
Снова отключите питающий автомат для подсоединения диммера. Схема очень простая, на входной контакт диммера подсоедините обнаруженную фазу
К выходному контакту подключите провод, который идёт к нагрузке (светильнику) через распределительную коробку.
Бывают модели диммеров, в которых промаркированы контакты входа и выхода, производите тогда подсоединения согласно разметке:
- «L-in» – так обозначается фаза-вход;
- «L-out» – так обозначается фаза-выход.
Если в вашей модели ничего не подписано, выполняйте подключение произвольно.
Особенности эксплуатации
При покупке и использовании диммеров важно учесть ряд особенностей их применения. Выделим базовые нюансы:
Выделим базовые нюансы:
- Применение светорегуляторов рядом с радиоприемниками и другими приборами высокой чувствительности не рекомендуется. Это связано с появлением помех при работе таких устройств. К примеру, при включении паяльника с регулятором осциллограф покажет посторонние сигналы, а послушать приемник на длинных / средних волнах не получится.
- Подключение диммера с лампой накаливания позволяет избежать скачка по току и, соответственно, защитить ее от перегорания раньше положенного срока. В реальности такая защита работает не всегда, и в момент включения лампы все равно горят (хотя, вероятность появления такой ситуации ниже). К слову, стартовое напряжение при минимальном уровне регулятора зависит от типа диммера.
- КПД лампочки накаливания заметно снижается вместе с уменьшением разницы потенциалов на входе. Следовательно, вместо снижения яркости лучше подключить лампу меньшей мощности и без диммера.
- Светорегулятор может стать источником помех при записи аудио с помощью звукоснимателя или микрофона. Эту особенность нужно учитывать в специальных помещениях, где ведется запись звука или радиоузлах. В таких местах лампы накаливания стоит подключать напрямую или использовать специальные схемы.
- При регулировании мощности лампы с помощью диммера меняется не только яркость, но и цветовая температура. В частности, при снижении яркости свет становится более красным.
- Мощная лампа накаливания при регулировании яркости с помощью диммера может быть источником ВЧ шума, который можно услышать в полной тишине. Это происходит из-за механических колебаний нити накаливания, которая горит при участии токов с ВЧ гармониками (появляются в момент переключения симистора). Если запитать лампочку напрямую, подобного эффекта не будет.
Конструктивные особенности выключателя со светорегулятором

Симисторный диммер
Модельный ряд выключателей с терморегуляторами представлен десятками моделей, которые отличаются друг от друга по принципу действия, конструктивным решениям, виду регулировочного устройства и совместимости с разными типами ламп.
- Диммерный выключатель на основе реостата – первые модели светорегуляторов, в основе действия которых – смена сопротивления тока с помощью системы резисторов. По мере уменьшения сопротивления сила тока возрастала, увеличивая яркость ламп, и наоборот – рост сопротивления уменьшал силу тока, приглушая световой поток. Реостатные выключатели малоэффективны в вопросах оптимизации энергопотребления. Они способны превращать часть электрической энергии в тепловую, что не позволяет ощутить экономию ресурсов.
- Диммеры симисторного типа. Проход тока через полупроводниковый симистор обусловлен напряжением между электродами. При достижении требуемого уровня напряжения симистор открывается, пропуская поток. Одновременное уменьшение сопротивления увеличивает силу тока и дает необходимую яркость светового потока.
Уточнить назначение и конструктивное решение конкретной модели выключателя позволяет следующая буквенная маркировка:
- Литера R – диммер-переключатель предназначен для изменения яркости ламп накаливания с омной или резистивной нагрузкой.
- Литера L – диммеры для понижающих типов трансформаторов, используемых с низковольтными типами ламп.
- Литера С – модели для электронных трансформаторов.
Регулятор яркости света с дополнительными функциями
Кроме того, что у регуляторов есть свое определенное назначение – плавная регуляция света, некоторые из моделей диммеров могут быть оснащены некоторыми дополнительными функциями и элементами, которые дают возможность исполнять ряд интересных функций.

К этим функциям относятся:
- Организация эффекта присутствия;
- Режим мигания света или затемнения;
- Режим автоматического включения и отключения;
- Возможность голосового и дистанционного контроля.
Если говорить о конструктивных особенностях, то на данный момент на рынке присутствуют модели с разными светорегуляторами. Это могут быть одинарные, двойные и даже тройные варианты.
Выбор готового прибора
Наиболее популярными считаются диммеры, производимые под названием Schneider, Makel и Legrand. Последние электронные устройства создают с мощностью от 300 до 1000 Вт
Обычно при выборе диммера внимание обращают на цену
К другим важным критериям выбора диммера относят:
- удобство эксплуатации, ведь одним может нравиться клавишное устройство, а другим — регулятор с дистанционным управлением;
- вид устройства, который может как сочетаться, так и не сочетаться с интерьером дома;
- бренд регулятора, так как более известные марки отличаются хорошим качеством и при этом продаются по приемлемой цене.
Подбирать устройство рекомендуется в 4 шага
Диммеры популярной марки Legrand подходят для любых ламп, включая осветительные приборы на 220 и 12 В. Чтобы определить, какой именно регулятор нужен для светильника, требуется воспользоваться следующей формулой: количество лампочек в осветительном приборе умножить на мощность одного источника света. Например, для прибора с 12 лампочками по 12 В подойдёт диммер мощностью не менее 144 В.
Требования к применению
Важнейшее требование при выборе светорегулятора – заранее определить, к какой лампе он будет подключен. Изделия для галогенных ламп нельзя подсоединять к светодиодам.
Также важными критериями являются:
- минимальная мощность источника света;
- температура в помещении – не рекомендуется ставить диммер в комнате выше 25 градусов;
- фазный проводник должен идти на разрыв, ноль подсоединять запрещено;
- мощность диммера должна быть выше суммарной нагрузки всех светильников, к которым он подключен;
- нельзя подсоединять нагрузку емкостного и индуктивного характера одновременно к регулятору.
Несоблюдение приведенных требований может привести к негативным последствиям.
Средняя стоимость диммеров на прилавках магазинов
Стоимость регулирующего устройства зависит от многих параметров. Среди них: известность бренда-производителя, мощность, качество, способ управления (сенсорные дороже механических, а бесконтактные — самые дорогие), внешний вид и др.
Французский Legrand производит светорегуляторы мощностью от 300 до 1000 Вт. Они совместимы с лампами, которые работают и на переменном и на постоянном напряжении. Цены начинаются от 1400 рублей за диммер 12В. Светорегуляторы 220 В с механическим управлением стоят от 1900 рублей.
Диммеры немецкого Schneider стоят еще дороже: стоимость механического регулятора для 220В начинается от 3000 рублей.
Впрочем, примерно по таким же ценам можно найти сенсорные устройства менее раскрученных компаний. Например, у компании Wemmon цены начинаются от 2200 рублей. Фирма Broadlink предлагает сенсорные светорегуляторы от 3000 рублей.
Есть смысл внимательно изучить предложения на рынке, чтобы выбрать качественные приборы по хорошей цене.
На тиристорах
Такая модель диммера на тиристорах по принципу действия идентична предыдущему варианту, но вместо симистора в роли ключа выступают тиристоры. Из-за особенностей работы тиристора целесообразнее устанавливать такое электронное устройство для каждой полуволны синусоиды напряжения.
Пример схемы такого диммера приведен на рисунке ниже:
Схема регулятора на тиристорах
Начнем разбор работы схемы с положительного полупериода кривой напряжения – конденсатор C1 заряжается по цепи из токоограничивающих резисторов R3 — R4 — R5. Когда величина заряда достигнет порогового значения для динистора V3, он открывается и подает управляющий импульс на тиристор V1. В режиме ключа V1 начинает пропускать напряжение к нагрузке, выдавая определенный участок кривой напряжения.
При отрицательном полупериоде синусоиды V1 запирается, ток через него протекать не будет, а на конденсатор C2 через токозадающую цепь R1 – R2 — R5 будет поступать заряд, который со временем откроет динистор V4. Через него будет протекать ток на управляющий электрод тиристора V2, после открытия транзистора на нагрузку пойдет такая же часть полупериода синусоиды, но с противоположным знаком.
Такой регулятор мощности светового потока может использоваться не только для изменения яркости освещения ламп, но и для управления температурой нагрева паяльника и других устройств.
Классификация и характеристики
Выключатели с диммером можно разделить на следующие группы:
- Модульные модели – предназначены для установки в распределительные щитки, к которым подключены источники света в коридорах и на лестничных клетках многоэтажных зданий. Устройство подключается к работе кнопкой или клавишным выключателем. Его нажатие и удерживание в течение нескольких секунд дает доступ к опции регулирования яркости света.
- Диммеры для монтажных коробок – применяются совместно с лампами накаливания и галогенными лампами. Управлять устройством можно через специальную выносную кнопку.
- Моноблочные модели – используются в качестве обычных бытовых выключателей.
Последние образцы изделий, получившие широкое распространение, могут управляться следующими способами:
- Поворотные диммеры – управление яркостью светового потока осуществляется поворотом ручки устройства.
- Нажимные и поворотные модели – нажим и поворот ручки позволяет включить лампу и одновременно изменить ее мощность до необходимого уровня.
- Клавишные светорегуляторы – одна из клавиш включает лампу, другая позволяет менять ее яркость.
- Сенсорные – модели последнего поколения. Несколько встроенных сенсорных датчиков позволяют включать лампу и менять яркость света. Плавность переключения несколько обманчива – изменение мощности светового потока происходит ступенчато, без промежуточных значений, но с небольшим разрывом по уровню яркости. Отсутствие подвижных деталей обусловило высокую надежность устройств данного типа и их продолжительную безотказную работу.
- Диммеры с пультом управления – позволяют менять яркость освещения в дистанционном режиме, одновременно вручную регулируя его мощность.

С пультом управления

Клавишный

Поворотный

Сенсорный
Достоинства и недостатки вариаторов для ламп накаливания
Диммеры не просто так получили известность. По сравнению с обычным выключателем, он обладает рядом положительных сторон, которые дают возможность упростить использование и сэкономить электрическую энергию.
Главные плюсы:
- Свет не только регулируется по яркости, кроме этого владелец способен отключать и включать его. Такая функция позволяет устанавливать приборы вместо коммутаторов, что сделает управление удобным и комфортным.
- Возможность изменять яркость света – также большое преимущество, потому что дает возможность сэкономить электроэнергию. Ведь не все люди хотят использовать яркость на максимум некоторым достаточно 30-50% освещения.
- Для каждого помещения настраивается определенная интенсивность, что открывает возможность настроить каждую комнату под нужды человека. Например, сделать на кухне и в гостиной светлее, а в спальнях затемнить свет, чтобы было легче засыпать.
- Для регулировки необязательно вставать с дивана большая часть современных моделей поддерживает дистанционное управление. Это очень удобно, когда человек приходит уставшим с работы и не в состоянии подняться с мягкого ложа.
- Светорегуляторы продлевают эксплуатационный срок ламп накаливания, что также большой плюс, так как их не придется часто менять. Это стало возможным благодаря регулировке уровня нагрузки.
- При установке диммера владелец сэкономит на покупке дополнительных источников освещения, так как они ему больше не понадобятся.
class=’s-article__points-list’>
Но кроме достоинств у этого прибора есть ряд недостатков
Хоть они не такие значительные, но знать про их существование важно
Главные минусы:
- Некоторые лампы не поддерживают работу с регуляторами, что сделает невозможным их эксплуатацию. Включать и выключать свет человек сможет без трудностей, но регулировать яркость – нет. Поэтому добиться экономии и высокого срока службы не получится.
- Каждый регулятор покупается в соответствии с нагрузками, с которыми он способен работать. Не соблюдение этого правила негативно сказывается на продукте, что выведет его из строя за пару лет активного использования.
- При перегреве устройства оно сразу сломается, так как все регуляторы чувствительны к этому. Если такое случится, то лучше купить новый продукт, заниматься ремонтом, особенно самостоятельно, не рекомендуется.
class=’s-article__points-list’>
Правила подключения
Следует убедиться в том, что нагрузка совместима с управляющим устройством по типу и мощности. При установке встраиваемого диммера надо предусмотреть возможность доступа в процессе эксплуатации для выполнения ремонтных работ.
Ноль сети 220 V подключают непосредственно к лампе накаливания, фазный провод – к регулятору.

В цепь фазы устанавливают выключатель. Выход с диммера подсоединяют к нагрузке.

Схема установки с двумя светорегуляторами
Диммеры соединяют перемычками. В серийных приборах 2 соответствующие клеммы обозначены на корпусе «стрелками». Свободные выходы подключают в разрыв фазной цепи. Такую схему применяют для регулировки мощности в нагрузке из разных мест. Это решение используют в большой комнате при отсутствии дистанционного управления.

Подключение к светодиодным лентам и лампам
Если применяется одноцветный источник, регулятор подключают непосредственно к нагрузке с учетом полярности. В схеме с приборами RGB выход диммера подсоединяют к специализированному контроллеру.

Включение прибора с двумя проходными выключателями
Этот способ применяют для удобства управления освещением в длинном коридоре.

В фазную цепь последовательно устанавливают 2 выключателя и диммер.
На симисторе
Такой диммер будет работать от напряжения сети 220В напрямую, схема отличается относительной простотой, поэтому собрать ее под силу даже начинающему радиолюбителю. Принцип регулирования напряжения в этом диммере заключается в отсекании определенного полупериода синусоиды, благодаря чему снижение электрического параметра приводит к реальной экономии электроэнергии.
Посмотрите на схему подключения, симистор – это электронный ключ, который управляется сигналами с динистора, включенного во времязадающую R — C цепочку.
Схема диммера на симисторе
Работа схемы заключается в следующем: после подключения фазы 220В к диммеру, на времязадающую цепочку C1 – R1 – R2 будет подано напряжение, так как динистор VS1 закрыт, ток протекает только через конденсатор и резисторы.
В зависимости от установленного поворотным резистором омического сопротивления будет зависеть и величина тока. От величины тока зависит и скорость заряда конденсатора C1, при достижении нужной величины потенциала на котором произойдет открытие динистора.
Через цепь открывшегося динистора на симистор VS2 подается сигнал открытия, срабатывает ключ, пропускающий определенную часть полупериода к нагрузке. Ток удержания в симисторе не возникает, поэтому с разрядом конденсатора вся цепь переходит в исходное состояние вплоть до следующего полупериода, который откроет ключ и подаст на нагрузку потенциал.
Изменение синусоиды
Как видите, такая схема диммера осуществляет регулировку яркости «обрезая» форму синусоиды до определенного импульса, уменьшая и величину напряжения, и его действующее значение. В виду нестабильного колебания кривой такую модель светорегулятора однозначно можно подключать к лампам накаливания, поскольку они не восприимчивы к форме напряжения. Что касается светодиодных и люминесцентных моделей, их нужно тестировать на уже готовом диммере.
Чтобы изготовить такой диммер для практического использования, лучше взять печатную плату. Так как при стационарной установке при регулировании напряжения вам понадобится жесткое крепление к конструкции. Ее можно как заказать, так и изготовить самостоятельно.
Процесс сборки состоит из следующих этапов:
Перенесите эскиз на фольгированную плату, в местах монтажа соответствующих деталей сделайте разметку. Дорожки наведите нитрокраской и протравите плату диммера в хлорном железе.
Протравите плату
В процессе травки плату нужно переворачивать, а после окончания, достаньте и полудите ее, промойте спиртом и просверлите отверстия для ножек.
Сделайте отверстия
Поместите ножки радиодеталей в просверленные отверстия под них.
Поместите ножки радиодеталей в отверстия
Если вы разметили монтажные площадки, придерживайтесь данной разметки.
Разогрейте паяльник и нанесите слой олова с обратной стороны платы диммера.
Припаяйте ножки радиодеталей
Протестируйте собранную конструкцию на лампе накаливания, если она работает как надо, можете собирать диммер в корпус.
Опробуйте работоспособность на лампе накаливания
Советы по использованию
Такой вариант управления освещением удобный, но к нему требуется привыкнуть, в процессе эксплуатации следует взять во внимание такие рекомендации:
- Если покупка устройства призвана обеспечить экономию, то необходимо устанавливать на регуляторе минимальные показатели. Только в этом случае лампа накаливания станет экономней на 15%. В остальных случаях свет просто рассевается.
- Не стоит использовать его, когда температура в помещении превысила отметку +27⁰. Это чревато перегревом и выходом из строя.
- Если регулятор вышел из строя из-за перегоревшего симистора, последний удастся заменить. Причем лучше выбрать симистор с более высоким порогом мощности. Причиной такой поломки является короткое замыкание в сети или превышение допустимой нагрузки на прибор.
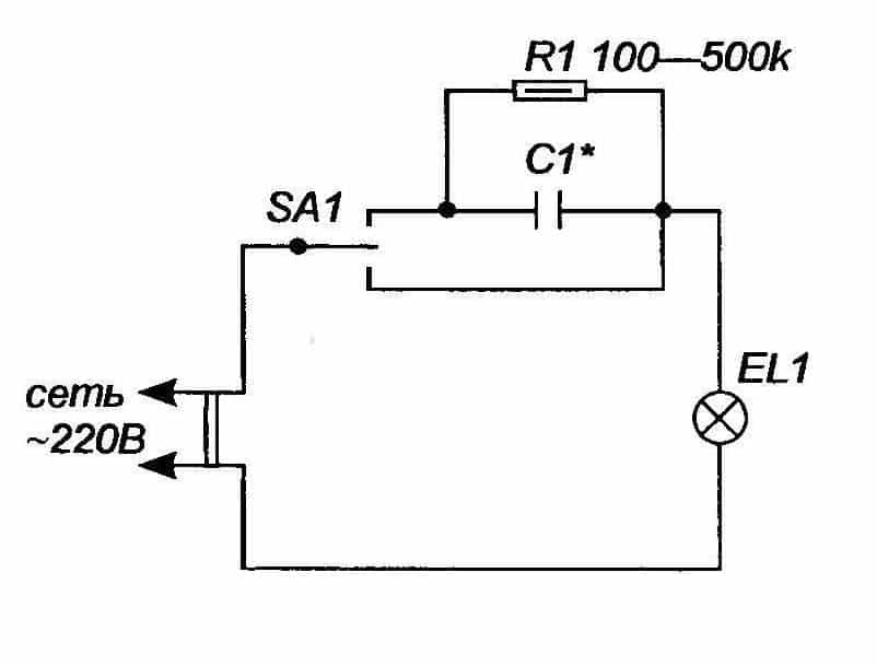
С использованием конденсаторов
Такой диммер работает только в качестве переключателя, который изменяет путь протекания тока, питающего нагрузку. Но и схема кнопочного диммера довольно проста и не потребует никаких специфических элементов.
Схема диммера на конденсаторе
Принцип его работы заключается в переведении переключателя SA1 в одно из трех возможных положений:
- выключено – цепь полностью разорвана, лампа не горит или проходной выключатель выдает логический ноль в цепи;
- закорочено на лампу – в цепи подключения диммера отсутствуют какие-либо элементы кроме электрической лампы (прибор освещения горит на полную мощность);
- подключено через R – C цепь – выдает только определенный процент яркости освещения.
В зависимости от параметров резистора и емкостного элемента будут зависеть напряжение и яркость свечения. Этот диммер используется для регулировки освещения путем рассеивания части мощности в R – C цепи, поэтому никакой экономии от снижения вы не получите.
Выбор диммера по ценам и производителям
Покупая диммируемые светодиодные точечные светильники, а также диммер для светодиодной ленты, обращайте внимание на известных производителей. Это определенно послужит вам гарантией качества и долговечности, в отличие от непроверенных брендов, произведенных в Китае
Большой популярностью пользуются такие производители диммеров и их комплектующих, как: Makel, Legrand, ABB и Schneider.
Например, у Legrand бывают диммеры мощностью 300-1000 Вт. и совмещаются они с лампами и на 12В и на 220 В. Соответственно стоимость на 220 В будет в два-три раза дороже, чем на 12 В.
Также сенсорный регулятор будет значительно дороже обычного клавишного. Так что, даже среди хороших производителей, выбрать можно диммеры под любой бюджет. Если вы хотите сэкономить, то лучше купить регулятор более простой, но известного бренда, чем более современную китайскую модель.
Важно также, чтобы выключатель с регулировкой яркости света гармонично вписывался в интерьер комнаты, в которой он будет установлен. Возможно, вы предпочтете комфорт и выберете дистанционное управление, такой вариант будет стоить дороже
Рекомендуется сначала покупать сам димерный прибор, а потом подбирать светодиодные лампы, потому что только методом подбора вы наверняка выберите совместимые. Предварительно у продавца уточняйте возможность возврата ламп, если они будут несовместимы с вашим диммером. В этом случае китайские светодиодные лампочки лучше обойти стороной, для их производства используют низкокачественные кристаллы, которые довольно быстро начинают угасать, светятся не на полную мощность, а при диммировании и вовсе не дадут нужной результата и освещенности.
Перед покупкой диммера вам необходимо:
Определиться с тем, сколько светильников будет подключаться и какие это будут лампы: светодиоды или лампы накаливания.
Решить, сколько диммерных устройств будете устанавливать и рассчитать нагрузку подключаемого оборудования на каждый диммер.
Выбрать тип диммера, в зависимости от того, как вы хотите регулировать уровень освещения
Обратите также внимание на тип монтажа устройства и на его дизайн.
Определите место установки диммера и, в зависимости от ваших навыков электрики, установите его самостоятельно или обратитесь к специалистам.
Разновидности диммеров
Теперь давайте разберем, какие типы регуляторов света можно встретить на полках магазинов в настоящее время:
В общем технологии движутся к тому, что скоро всеми устройствами в помещении можно будет управлять со своего смартфона либо полностью голосом.
Также при выборе диммера нужно учитывать, какая нагрузка будет на него приходиться. Например, у вас висит люстра, с восемью рожками, а в каждом из них вкручена лампа накаливания на 100 Вт. В совокупности получается максимальная мощность – 800 Вт, а если учитывать необходимый запас, то самый лучший вариант будет поставить диммер на 1000 Вт. На рынке представлен широкий диапазон мощностей диммеров от 40 до 1000 Вт, поэтому для каждой конкретной ситуации устройство подбирается отдельно.
Виды диммеров и особенности конструкций
Диммер или, другим словами, светорегулятор позволяет с одной точки устанавливать различные режимы освещения. В отличие от двухклавишного выключателя, который может осуществлять до 3 позиций интенсивности, это приспособление плавно меняет яркость одного или нескольких источников света от самой слабой до максимальной.
Чтобы правильно его установить, необходимо разобраться в конструкции. Но здесь возникает сложность, касающаяся различных видов. В продаже имеются устройства с разным способом управления.
Наиболее известным является поворотный механизм, но кроме него можно наткнуться и на кнопочный, электронный, дистанционный и даже акустический.
Подобно выключателю, регулятор света простейшей конструкции подключается к двухжильному проводу в разрыв силовой цепи.
Формой корпуса он напоминает стандартную электроустановку – розетку или выключатель – поэтому может монтироваться как в подрозетник, так и просто в свободную стенную нишу. Фиксация происходит за счет упругой металлической лапки-распорки или двух лапок, а контакты также стандартны.
Первый контакт предназначен для входящей фазы, идущей от распредкоробки, второй – для выходящей жилы нагрузки, которая направляется к источнику освещения. В качестве осветительных приборов может выступать настольная лампа, торшер, люстра, бра или группа точечных светильников.
Кнопочный регулятор напоминает обычный выключатель: коротким нажатием на клавиши можно включить/выключить лампу. Однако если клавишу удерживать 1-2 секунды, то интенсивность освещения плавно изменится.
Схемы подключения
Хотя существуют разные варианты регуляторов, схемы подключения у них одинаковые. Основные представлены ниже.
Из одной точки

Указанная схема подходит для всех типов диммеров. В основном она применяется для регуляторов нажимного и сенсорного типа. Поворотный регулятор подключить можно, но могут возникать сложности с его регулярной эксплуатацией.
Из двух точек

Удобно по подобной схеме монтировать прибор в спальне, коридоре, на лестнице. Один элемент монтируется у двери возле входа, второй возле конечной точки следования. Первым вариатором свет включается, вторым может регулироваться до нужной интенсивности или вовсе отключаться.
Из одной точки и управление из двух точек

Из существующих, эта схема эта самая удобная. Использоваться может в разных условиях. На входе в комнату монтируется обычный выключатель, в месте, где человек больше всего находиться – регулятор. В случае со спальней – это кровать, для детской комнаты у детской кровати, для кухни, рабочая зона. При этом выключатель запускает в работу лампу, а с помощью регулятора происходит регуляция интенсивности.
Из одной точки и управление из трех точек

Данный вариант подключение практикуется, если нужно управлять освещением из двух точек. Удобна она при монтаже освещения в коридорах, лестницах, любых длинных помещениях. Кроме регулятора, используются еще 2 проходных выключателя. Собственно подключение стандартное, согласно схеме.
Замена выключателя диммером
Алгоритм замены обычного выключателя диммером достаточно простой, совершать действия нужно в таком порядке:
- Отключение питания для целевого кабеля на распределительном щите.
- Демонтаж выключателя.
- Изучение маркировки и клемм на регуляторе – стрелки показывают на фазу.
- Найти фазу старого выключателя. При проверке неоновым индикатором этот контакт будет светиться.
- Подключение к соответствующим контактам.
- Крепление диммера.
- Коробка устройства монтируется на стену помещения.
Самые частые ошибки, что допускаются в процессе монтажа:
Установка в неподходящих температурных условиях, как результат прибор быстро выходит из строя
Критичные показатели +27 и выше.
Важно правильно подбирать схему подключения, ориентируясь на цели использования и предназначения комнаты.
Для разных типов ламп, используется один диммер.
Разновидности диммеров
Теперь давайте разберем, какие типы регуляторов света можно встретить на полках магазинов в настоящее время:
- Поворотные. Это самая простая и распространенная модель диммера, в которой регулировка яркости света осуществляется при помощи крутилки круглой формы. Приборы с таким управлением довольно информативны и удобны при эксплуатации. А простота начинки делает их очень доступными, по сравнению с другими типами устройств.
Поворотный диммер
- Кнопочные. Здесь управление происходит путем нажатия клавиш со значками «+» и «—». Считается, что они классом выше предыдущих, но принципиального отличия практически не имеют, разве что внутренняя конструкция заточена под кнопки. Кнопочный диммер
- Сенсорные. Это уже довольно навороченные диммеры, которыми можно управлять лишь одним касанием, а некоторыми и вовсе взмахом руки. Также регуляторы могут оснащаться всякими дополнительными функциями вроде: автовыключение, таймер, эффект присутствия и другие. Поскольку начинка сенсорных устройств довольно сложная, то и стоимость подобных приборов значительно выше. Сенсорный диммер
- С пультом управления. Как видно из названия, регулировка света происходит дистанционно. Вместе с сенсорными они очень часто являются частью системы – умный дом. Некоторые разновидности могут реагировать на голос, движение, хлопок и т. п.
Диммер с пультом управления
В общем технологии движутся к тому, что скоро всеми устройствами в помещении можно будет управлять со своего смартфона либо полностью голосом.
Также при выборе диммера нужно учитывать, какая нагрузка будет на него приходиться. Например, у вас висит люстра, с восемью рожками, а в каждом из них вкручена лампа накаливания на 100 Вт. В совокупности получается максимальная мощность – 800 Вт, а если учитывать необходимый запас, то самый лучший вариант будет поставить диммер на 1000 Вт. На рынке представлен широкий диапазон мощностей диммеров от 40 до 1000 Вт, поэтому для каждой конкретной ситуации устройство подбирается отдельно.
Нюансы выбора
Сейчас продается множество модификаций диммеров, рассчитанных на разные типы ламп и осветительных приборов.
Ориентируясь на использование ламп накаливания, необходимо выбирать регуляторы, подходящие для них по следующим критериям:
- По техническим и эксплуатационным характеристикам. Обычно для них используют светорегуляторы с симисторами. Они менее капризны и просты в устройстве.
- По суммарной нагрузке, которую способен выдержать светорегулятор. Информация об этом указывается на устройстве, например 300 W обозначает, что прибор может обслуживать люстру с 5 лампами на 60 Вт. Покупать лучше светорегулятор с некоторым запасом нагрузки, для данного случая подойдет диммер на 350 W.
- По планируемому месту установки. В зависимости от места монтажа следует покупать светорегулятор модульного, моноблочного или вмонтированного типа.
- По характеру управления: с помощью клавиш, кнопок или с помощью сенсора. Выбор по способу управления зависит от личных пожеланий, многофункциональности устройства, удобства использования и стоимости регулятора.





































