Этапы строительства клетки для кроликов
Изготовление клетки для кроликов своими руками с нуля включает несколько последовательных этапов. Каждый из них довольно значимый, требует продуманности и аккуратности в работе, но, если подойти к делу со всей ответственностью, изделие будет служить многие годы.
Замеры и чертежи
Оптимальные габариты подбираются в зависимости от породы животных, их возраста и количества. В среднем, для самок с приплодом планируется клетка длиной около 170 см, высотой 60–70 см и шириной 100 см. Молодняк от крольчихи отсаживают в возрасте 1,5 месяца, группами по 3–5 шт. Взрослых особей (старше 3 месяцев) держат на откорме в индивидуальных коробах примерно 150х60х70 см. Площадь для одного кролика должна быть не меньше 0,3–0,5 м2, высота стенок – от 35 см.





Выбор материалов и фурнитуры
Главные критерии при выборе материалов – их прочность, устойчивость к механическим воздействиям и особенностям окружающей среды. Также не стоит забывать, что кролики относятся к грызунам и с легкостью повреждают тонкую древесину. В целом, любые доски перед использованием рекомендуется пропитывать антисептиками, а еще лучше – полиуретановым лаком (жидким пластиком). Биологические отходы этих животных очень едкие, поэтому отдельно следует позаботиться о регулярной чистке настила.
Важно, чтобы все окружающие поверхности не испаряли вредных веществ и не препятствовали естественной циркуляции воздуха. Здоровый микроклимат способствует правильному развитию питомцев, предохраняя их от всевозможных болезней
Различные соединительные элементы, такие как крепеж, завесы дверок, направляющие для кормушек и выдвижных поддонов должны быть высокого качества, с хорошей защитой от коррозии – это даст возможность эксплуатировать вольеры максимально длительный срок.


Строительство
Для изготовления кроличьих клеток в первую очередь сооружается каркас из металлического профиля и/или брусьев. Затем к нему крепится сварная сетка, решетки из дерева, древесностружечных плит или фанеры. Заднюю, а часто и боковые стенки делают сплошными, но микропоры в материале должны легко пропускать воздух и влагу.
Один из самых ответственных моментов – обустройство пола. Лучше всего себя зарекомендовали сменные конструкции реечного типа, которые можно сворачивать и разворачивать, вынимать и легко мыть. В качестве пола могут применяться расположенные с небольшим интервалом пластиковые шпалы, пропитанные полиуретановым лаком доски, бамбуковые ламели, сетка. Размер ячеек должен быть таким, чтобы лапы животных не застревали, а прутья не прогибались под их весом. Металлическая сетка удобна с точки зрения чистки, но провоцирует заболевание кроликов дерматитом, из-за чего им больно ходить, поэтому желательно все-таки отдать предпочтение пластику или дереву.
Крышка крольчатника – это одновременно навес, защищающий питомцев от осадков и яркого солнца, а также дополнительная дверца для открывания-закрывания вольера. Обычно ее крепят с легким наклоном, выполняя из плотно прилегающего листа фанеры либо другого материала, не склонного к усыханию или деформации. Кровлю нельзя делать металлической, иначе в жару она будет слишком нагревать воздух в клетках. Для улицы вполне подойдет такой вариант, как мягкая черепица, шифер, ондулин.




Установка и эксплуатация
Готовые клетки для кроликов рекомендуется устанавливать на высоте не менее 0,3–0,5 м от пола, за исключением переносных конструкций, предназначенных для выгула животных по траве. В остальных случаях приподнятое положение основания защитит питомцев от сырости. На открытом воздухе вольеры лучше всего располагать в затененных участках, фасадами на восток или запад.
В холодное время года нужно позаботиться об утеплении вольеров. Для этой цели подойдет наружная обивка стенок воздухопроницаемыми уплотнителями (минватой, прошивными матами, древесноволокнистыми плитами, пенопластом, тюками из сена/соломы/стеблей льна и т. п). Чтобы клетки прослужили как можно дольше, их следует регулярно чистить, беречь от воздействия влаги и своевременно проводить мелкий ремонт.




Инструменты и материалы
При изготовлении крольчатника используется стандартный набор инструментов:
- дрель;
- ножовка по металлу или дереву (в зависимости от строительных материалов);
- сверло;
- сварочный аппарат, если каркас предполагается собирать из металлических уголков.
Материалы для строительства:
- деревянные бруски или металлические уголки – для возведения каркаса;
- сетка из нержавеющего металла или деревянные рейки – для пола;
- толстые доски – для боковых и задних стенок;
- мелкоячеистая сетка – для межсекционных перегородок, передних стенок и дверей.
- рубероид или шифер, доски – для кровли;
- уголки, крепёж – для крепления узлов.
Чертежи и схемы
Определившись с видом конструкции и её назначением, можно приступить к проектным работам. На данном этапе разрабатываются чертежи и схемы, которые облегчают расчёт необходимых материалов и процесс монтажа.
Сделать чертежи можно самостоятельно с учётом места установки клетки, количества взрослых особей и молодняка. За основу берут нормативные параметры:
- двухсекционная ячейка для взрослых зверьков: 120×65×70 см;
- отсек для одного кроля – 65×50×70 см;
- маточник – 50×35×30 см;
- диаметр лаза – 18-20 см.
В целях экономии времени есть возможность воспользоваться готовыми чертежами.
Примеры схем кроличьих клеток.
Вариант 1: двухсекционная клетка

Вариант 2: клетка для одного кроля

Как обогреть зимой
Иногда в зимний период может возникнуть необходимость утеплить клетку. Можно сделать обогрев при помощи войлока, старых одеял, сена, хвои. Также для внешнего утепления отлично подойдёт такой теплоизолятор, как пенопласт.
Небольшой мороз сам по себе не принесёт зверькам вреда, важно избежать большой влажности в вольерах. Нужно сделать так, чтобы в клетки не попадал снег и иные осадки
Для этой цели подойдут листы железа, которыми можно оббить крольчатник с внешней стороны.
Бывалые кролиководы, не используя искусственное отопление, выстилают всю клетку внутри сеном. Кролики нагревают его своим дыханием и оно хорошо сохраняет тепло.

В сильные морозы нужно обеспечить зверькам более или менее тёплый пол. Для этого дно клетки, если оно металлическое, устилается толстым слоем сена. Для деревянного пола можно использовать вышеупомянутые трапы, которые хорошо защищают пол от промерзания.
В сильные морозы можно содержать животных в сараях. Именно для этого все клетки проектируются таким образом, чтобы их было удобно переносить. Также есть проекты отопления и подогрева воды в зимний период.
Знаете ли вы? Зайцы по своей природе одиночки. А кролики живут группами, и поэтому являются социальными животными. В этом главное отличие данных ушастых друг от друга.
Этапы строительства клетки для кроликов
Как уже неоднократно говорилось ранее, можно построить клетки для кроликов своими руками. Предварительно фермеру настоятельно рекомендуется внимательно ознакомиться с подробной инструкцией строительства одиночной клетки простейшего типа для кролика.
Предварительно нужно выбрать участок, где будут размещаться будущие клетки. Место должно быть защищено от порывов ветра и сквозняков, особенно если животные будут жить на улице, а не, например, в сарае.
Следующее, что потребуется строителю – подготовить схемы и чертежи. Они позволяют определить предназначение каждой конкретной клетки, их наполнение, габариты и строение цельной конструкции. При выборе размеров клеток рекомендуется опираться на габариты выращиваемых животных.
К сведению! Чаще всего строят клетки размерами 150 см*70 см*70 см.
Порядок постройки:
- Согласно выбранным размерам начинают изготовлять из брусьев каркас конструкции. Высота фасадной части клетки обычно составляет 60-70 см, высота задней части уже берется немного меньше, чтобы крыша в конечном итоге вышла под небольшим наклоном.
- Готовый каркас дополнительно обшивают фанерой, досками или любым другим используемым материалом. Полученное пространство внутри делится на секции кормовые и гнездовые при помощи перегородок. Дополнительно в перегородке проделывается отверстие диаметром приблизительно 20 см. Чтобы животные не грызли перегородку, рекомендуется отверстие дополнительно обить отверстие жестью.
- Когда стены готовы, самое время приступить к строительству крыши. Чтобы в будущем было удобнее обслуживать свое хозяйство, есть хорошая идея – сделать крышу съемной.
- На фасаде конструкции вешают двери, кормовое отделение изготовляют из сетки, а гнездовое из досок.

Чертеж простейшей одноярусной клетки для кролика
Обратите внимание! Если кролики будут проживать на улице, то дополнительно к задней части клетки рекомендуется приделать металлическую сетку для возможности выгула. Причем удачное расположение клеток может дать возможность питаться животному подножным кормом
Типовая клетка для кроликов своими руками

Выбирая вариант клетки для кроликов, можно остановить выбор на клетке Золотухина или Михайлова
Существует множество вариантов клеток для кроликов, которые отличаются по количеству ярусов и секций, размерам и наличию «удобств» в виде кормушек и поилок. В интернете легко найти авторские чертежи вроде конструкций Золотухина или Михайлова.
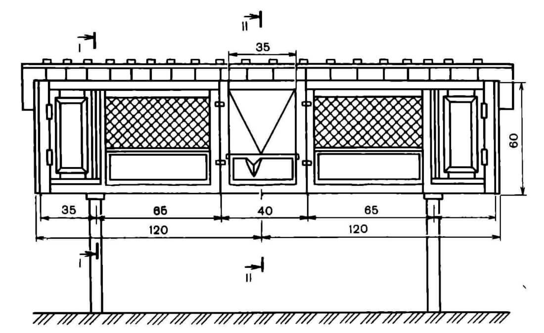
Если говорить о типовой клетке для взрослых кроликов, то оптимальными параметрами будут такие размеры:
- Длина — 120–150 см;
- Ширина — 60–80 см;
- Высота — 60 см.
В целях рационального расхода материала и для удобства в обслуживании рекомендуется строить парные клетки. В таком случае длина увеличится до 3 м.
Не стоит экономить место и делать клетки меньшего размера. У животных должно быть достаточно свободного пространства, иначе они становятся малоподвижными, заболевают и перестают приносить потомство.
С виду типовая клетка напоминает блок, состоящий из двух секций, в каждой из которых можно содержать по одной взрослой особи. Чаще всего в строительстве применяют древесину и фанеру для каркаса и внутренней отделки, металлическую сетку с мелкими ячейками для стен и перегородок, а также шифер для кровли.
Пол клетки редко делают сплошным. Обычно его собирают из узких реек или используют сетку, так как это упрощает уход за грызунами. Кролики производят много отходов, которые через сетчатый или реечный пол попадают в специально установленный поддон. Если напольное покрытие сделать сплошным, то чистить его придётся слишком часто.
Необходимые инструменты и материалы
Для изготовления типовой клетки понадобятся следующие материалы:
- Деревянный брус — 10 штук размером 300х3х5 см;
- Листы фанеры — 2 штуки размером 150х150х0.1 см;
- Металлическая сетка — 3 м с размером ячеек не крупнее 15 мм;
- Саморезы — примерно 2 кг. Понадобятся размеры 3 и 7 см;
- Фурнитура — дверные петли и щеколды;
- Возможно, деревянные рейки для пола как альтернатива металлической сетке.
Инструменты для работы:
- Ручная пила или болгарка;
- Ножницы по металлу или кусачки;
- Шуруповёрт или молоток с гвоздями (вместо саморезов);
- Рулетка, карандаш, уровень.

Чертёж типовой клетки для кроликов
На чертеже обозначены все основные элементы конструкции и указаны размеры в см.
Инструкция по изготовлению
- Начинать строительство следует с изготовления каркаса. Собирают его из деревянного бруса, который распиливают согласно размерам и скрепляют на саморезы или гвозди. Если есть такая возможность, ножки каркаса рекомендуется углубить в землю для большей устойчивости конструкции.
- Пол будущей клетки собирают из реек, между которыми оставляют промежутки в 0.5–1 см, или кладут металлическую сетку. Закрытые гнездовые отделения по бокам клетки можно сделать сплошными, положив фанеру.
- Из фанеры также изготавливают заднюю и боковые стенки клетки, кормушку.
- Изготовив дверцы с помощью металлической сетки и остатков дерева, следует закрепить их с помощью фурнитуры.
- В завершении работ клетку накрывают крышей. В зависимости от внешних условий кладут двойную крышу (фанеру и сверху шифер) или просто укрывают её шифером.
Особенности конструкций
Все клетки для кроликов проектируют, руководствуясь общими принципами, однако у различных видов укрытий существуют свои особенности. Нюансы конструкций зависят преимущественно от пород и особей, которых кроликовод планирует содержать. В любом производительном хозяйстве содержатся одновременно несколько групп кроликов разных возрастов или даже пород.
В зависимости от того, будет кроличья клетка находиться на улице или в помещении, следует выбирать подходящие материалы для строительства и планировать габариты конструкции. Клетки могут иметь от 1 до 3 ярусов и неограниченное количество секций в длину.
Для кроликов различных возрастов (новорожденные, молодняк, взрослые особи) требуются особые условия содержание, соответственно и клетки для них будут отличаться. Например, беременные самки с новорождёнными крольчатами содержатся в особых маточных клетках с гнёздами.
Размер клеток следует планировать таким образом, чтобы животным было достаточно места и простора. Очевидно, что клетки для кроликов-великанов и карликовых особей будут сильно отличаться друг от друга.
В зависимости от размера кроликов

Размер клетки напрямую связан с габаритами будущих жильцов
Оптимальные размеры для просторной клетки, в которой содержат пару взрослых кроликов стандартных габаритов:
- Длина — 120–170 см;
- Ширина — 60–80 см;
- Высота — 50–60 см.
Карликовым и декоративным (до 4–5 кг) кроликам будет достаточно более скромных условий:
- Длина — 70–90 см;
- Ширина — 35–55 см;
- Высота — 30–50 см.
Кроликам-великанам потребуется гораздо больше места:
- Длина — 85–100 см;
- Ширина — 70–80 см;
- Высота — 60–80 см.
Многоярусные клетки
Производительное кролиководство предполагает одновременное содержание большого количества грызунов разного пола и возраста. На помощь кролиководам приходят многоярусные конструкции для содержания животных. Клетки устанавливают как в два, так и в три яруса. Клетки в несколько уровней для кроликов являются капитальными сооружениями, которые, тем не менее, достаточно просто построить самостоятельно.
Популярностью у владельцев кроличьих ферм пользуются многоярусные клетки по чертежам Золотухина. Они имеют ряд преимуществ:
- Вместительность;
- Возможность содержать в одном месте всех представителей кроличьих семей (самок, молодняка и самцов);
- За животными удобно ухаживать;
- Клетки Золотухина достаточно мобильны — их можно перемещать с места на место.
В зависимости от назначения

Если в клетке обитают крольчиха с крольчатами, то им обязательно нужно устроить уединённое место
В зависимости от назначения кроличьи клетки делятся на несколько видов, каждый из которых имеет свои конструктивные особенности:
Стандартная клетка для постоянного содержания. Чертёж такой клетки легко найти в интернете и построить жилище для грызунов самостоятельно
Обратить внимание следует на размеры клетки, которые не должны быть слишком маленькими, и безопасность материалов;
Клетка для разведения должна быть намного просторнее, так как в ней одновременно будут находиться несколько особей;
Особый вид домика для крольчихи с крольчатами или беременной самки называется маточником. Уединённое место и тепло — вот две основные составляющие комфорта беременной крольчихи и её новорожденных крольчат
Как правило, маточник имеет сплошные стены, своеобразный домик, имитирующий тесную норку и приспособления для кормления матери;
Клетка для молодняка соответствует стандартным требованиям, но часто оснащается дополнительным вольером для выгула. Возможность немного размяться благоприятно сказывается на росте и развитии неокрепших детёнышей. Зона для выгула изготавливается из металлической сетки и зачастую предоставляет животным доступ к свежей траве.
В зависимости от климата и времени года
Оптимальная температура вокруг для нормального самочувствия кроликов — 14–16 градусов. Поддержание нормального климата в домиках и защита животных от осадков и ветра — это основные требования к конструкции кроличьих клеток.
В крупных кролиководческих фермах содержание грызунов зимой и летом предусматривает различные виды клеток. Зимние утеплены ОСП или другим волокном, иногда в них проводят водяное отопление.
В регионах с умеренным климатом без резких температурных перепадов можно круглогодично содержать кроликов в одинаковых переносных конструкциях, которые при наступлении первых холодов переносят в закрытое помещение. В летний период такие клетки вновь перемещают на открытый воздух.
Клетки для самок с детенышами
В естественных условиях самки приносят на свет детенышей в теплых и сухих норах. Поэтому основная задача человека, содержащего кроликов — обеспечить им условия, близкие к натуральным. Это станет залогом благополучного окота.
Для этого для беременной самки обустраивают маточный ящик. Небольшое по размеру помещение дает крольчихе ощущение безопасности и комфорта
В маточнике должно быть сухо, тепло, уютно, это важно для новорожденных крольчат, ведь они появляются на свет совсем без шерсти. Маточники нужны не только зимой, но и в теплый период года
Здесь речь идет не о тепле, а о чувстве защищенности для самки. Она должна иметь возможность гнездиться.
Клетка для самки делится на две части: маточник (отделение поменьше) и зону для прогулок. Очень хорошо, когда удается оборудовать чердачное помещение в маточнике. Туда необходимо сделать лаз, чтобы самка могла отдыхать от детенышей.

Вариант 3. Вольер для кроликов
Ранее кролиководы в качестве места для разведения своих питомцев использовали так называемые вольеры. Такой способ разведения называется еще безклеточным. Его главное достоинство – простота самой конструкции. Что нам понадобится?
- Толстый брус или уголки;
- Сетка оцинкованная;
- Фанера и шифер.
В качестве каркаса будет использован брус или металлические уголки, которые вкапываются в землю на определенное расстояние, достаточное для прочного укрепления. Столбы огораживают сеткой высотой примерно 1,5 – 1,7 метра. Проволоку, для того, чтобы ваши питомцы не сбежали, лучше всего закопать сантиметров на 30-35 вглубь. Предварительно её нужно обработать антикоррозийным материалом, чтобы сетка не прогнила.
Еще один из вариантов защиты пола во избежание побега – это металлические прутья, вбитые по всему периметру. Они вбиваются на расстоянии 5-7см, глубиной в 1м. Это обеспечит кроликам возможность рыть норки в естественной, земляной среде, и в то же время нивелирует риск подкопа и последующего побега.
Альтернативный вариант защиты пола – бетонная платформа. Поверхность по периметру заливается бетоном, а сверху насыпается большой слой опилок и сена. С течением времени опилочный слой будет спрессовываться, и превращаться в плотную структуру, в которой ушастые могут свободно рыть норы и укрываться от морозов в период зимних холодов. В случае, если пол бетонный, то сетку можно не вкапывать.
Наверх можно положить фанерный лист и сверху защитить его шифером или рубероидом. Но предварительно необходимо реализовать своего рода люк, который предоставит вам свободный доступ к питомцам для кормления и отлова. В качестве альтернативы можно сделать брезентовый навес.
Преимущества такой клетки заключаются не только в простоте и низкой степени затрат на строительство. Кроме всего прочего, так кроликов легче кормить, а тот корм, который просыпается никуда не денется – ушастые их все равно найдут и в последствии употребят. Проблема с просыпанным кормом в клетках стандартного типа, на стойках или рейках, очень распространена среди кролиководов – вовремя не убранное зерно привлекает крыс и других вредителей.
Клетки для кроликов Золотухина
Еще одна знаменитая концепция фермы для эффективного разведения кроликов. Николай Иванович Золотухин изучал жизнь кроликов в естественных условиях с малых лет и в расцвете своей карьеры разработал это удивительное сооружение, повышающее эффективность взращивания кроликов за счет активизации их естественных инстинктов.
Имеет ферма-клетка Золотуха три яруса, изготавливается достаточно просто. Давайте приступим к рассмотрению инструкции по ее изготовлению.

Клетки для кроликов Н.И. Золотухина
Чтобы построить клетку, нам понадобится:
- деревянные брусья;
- доски;
- металлическая сетка;
- листовое железо;
- качественный поликарбонат;
- шифер.
Инструкция по построению
Итак, прежде всего определим размеры будущей клетки:
- в ширину кроличье жилище составляет 2 метра;
- высота сооружения – 1,5;
- глубина конструкции не более 80 сантиметров;
- задний уклон пола – 5 сантиметров;
- сетка у задней стенки занимает 20 сантиметров;
- дверки делаются в форме квадрата с 40 сантиметрами длины одной стороны.
Приступаем к построению.
| Фото | Шаг |
|---|---|
![]() | Шаг 1. Каркасы для клеток собираются по уже знакомой вам методике. Каждый из них делится на две равных половины, между которыми остается небольшое расстояние для размещения сенника. |
![]() | Шаг 2. Для пола на этот раз используется не сетка, а прочный шифер. Укладывая и прикрепляя листы шифера к каркасу, рассчитывайте, что от задней стенки нужно отступить 20 сантиметров. Это пространство покрывается сварной сеткой, через которую будут уходить испражнения ушастых. |
![]() | Шаг 3. Теперь приступим к изготовлению стен. Задние стены изготавливаются из листов карбоната под определенным углом. Верхняя часть каждой из стенок монтируется к окончанию шиферного пола следующего по высоте яруса. У самого верхнего яруса она прямая. Благодаря такой конструкции кроличий помет перекатывается по стенкам каждого из ярусов и в итоге попадает в поддон. |
![]() | Шаг 4. Делаем дверку для маточников и кормовых отсеков. В первом случае готовим ее из дерева и утепляем, чтобы создать нужные условия для крольчат. Во втором – делаем из сетки. |
| Шаг 5. Гнезда для летнего содержания также делаются с сетчатыми стенками. От оставшегося пространства их отделяют дощатой перегородкой, которую затем можно снять и получить просторную клетку для молодняка. Зимние маточники деревянные, с закрытыми стенками. Вход в него также деревянный, с закрывающимся отверстием, нижняя часть которого соприкасается с полом. На пол устилается сено. | |
![]() | Шаг 6. Делаем кормушки. Представляют собой эти приспособления лоток, занимающий большую часть стены клетки, находящейся спереди. Вставляется кормушка в клетку только на одну треть, дно ее выполняется под углом. Это нужно, чтобы кормушку можно было наполнить снаружи, не открывая при этом клетку. Также внутрь устанавливается поилка. |

Чертеж одного отсека клетки Золотухина

Чертеж клетки Золотухина с размерами
Клетки Золотухина знамениты и пользуются успехом уже многие десятки лет. Простое изготовление делает их популярными, а кролиководческий эффект от них потрясающий.
Как сделать двухъярусную клетку для кроликов своими руками: нюансы
Если человек не в первый раз занимается подобной работой, то, как таковой, чертёж ему уже не нужен – всё, что требуется, «хранится» в голове. Однако начинающим домашним мастерам лучше набросать схематическое изображение будущего домика для ушастых питомцев.
Чертежи клеток для кроликов с размерами: примеры
Для того чтобы Уважаемому читателю не изобретать велосипед, предлагаем ознакомиться с примерами схематических изображений различных типов подобных клеток.
Чертежи различных типов клеток для кроликов для собственноручного изготовления:


Как сделать клетку для кроликов своими руками: монтаж каркаса и днища одного из ярусов
Итак, рассмотрим последовательность работ:
| Иллюстрация | Описание действия |
![]() | Для изготовления каркаса из материала понадобится брус (длина брусков указана на фото). Рёбра, которые будут находиться внутри клетки, обшиваем уголком для ГКЛ – это защитит древесину от острых кроличьих зубов. В итоге должна получиться довольно большая клетка для кроликов. |
![]() | Для начала собираем боковые стороны каркаса будущей клетки. Детали скрепляются между собой при помощи уголков и самонарезающих шурупов с пресс-шайбой длиной 40 мм. |
![]() | Отмерив от края расстояние, равное будущей дверце, отмечаем его и крепим перегородку из заранее подготовленной детали – это придаст прочности и обеспечит крепление лючка. Те же действия производим с другой стороны. |
![]() | Между дверными проёмами монтируем 2 бруска в форме буквы «V». Впоследствии это будет кормушка, в которую укладывается свежая трава, лопухи или капустные листы. |
![]() | Собрав 2 подобные перегородки, соединяем их отрезками бруска при помощи тех же уголков и саморезов. Отличием является лишь то, что уголки для этих целей лучше взять усиленные. |
![]() | В итоге получаем вот такой каркас, который уже готов к обшивке, однако, сначала следует сделать днище. Часто для этой цели используется сетка, однако ушастые могут провалиться в ячейки лапой и повредить её, поэтому мы выбираем другой вариант. |
![]() | Для монтажа днища потребуются рейки размером 24×12 мм, дрель, шуруповёрт и те же саморезы с пресс-шайбой длиной 40 мм. Дрель здесь используется для засверливания реек, во избежание их раскола. |
![]() | Зафиксировав первую рейку, укладываем две без крепежа, прикручивая лишь третью по счёту. Это позволяет отмерить ровно 48 мм без рулетки и лишних отметок, а значит, экономит время. Эти действия повторяем, пока дно не будет полностью закрыто. |
![]() | Когда эта работа окончена, между закреплёнными рейками фиксируем ещё по одной. Так щели между ними будут такого размера, который не позволит кроликам провалиться между полосами. |
![]() | Последним этапом обрезаем излишне торчащие части. Не стоит это делать как на фото – обрезным диском по металлу. Он может перегреться. Лучше использовать ножовку или электролобзик. |
Обшиваем каркас и устанавливаем ярусы на место
А теперь приступим к обшивке каркаса и дальнейшей установке ярусов клетки:
Иллюстрация
Описание действия
Сначала сетка крепится на кормушку таким образом, чтобы бруски остались внутри клетки, а крепящие саморезы были снаружи – это исключит для кроликов опасность пораниться.
Установив 4 стойки по углам, крепим уголками первый ярус, накрываем его листом оцинкованного металла, а чуть выше фиксируем упор для второго этажа. Между ярусами обязательно должно остаться расстояние, которое позволит производить уборку.
Те же действия с оцинковкой производим со вторым этажом
Обратите внимание, на фото указан технологический проём, облегчающий уборку. Подобным образом устанавливается и третий ярус. Их количество зависит от пожеланий хозяина, однако, стоит пронимать, что слишком высокие клетки будут неудобны в обслуживании
Их количество зависит от пожеланий хозяина, однако, стоит пронимать, что слишком высокие клетки будут неудобны в обслуживании
Подобным образом устанавливается и третий ярус. Их количество зависит от пожеланий хозяина, однако, стоит пронимать, что слишком высокие клетки будут неудобны в обслуживании
Не с лестницей же бегать по кроличьим домикам
В последнюю очередь устанавливаем дверцы. Сделать их труда не составит, нужно лишь собрать рамку по размеру и обшить её сеткой. Навешиваются дверцы на любые петли, можно использовать даже рояльные.
Теперь остаётся окончательная дезинфекция перед заселением. При помощи горелки обжигаем деревянные поверхности – помимо уничтожения микробов, это действие позволяет убрать задиры, которые остаются после распила. По окончании обжига клетка обрабатывается антисептиком, после чего можно селить в неё первых жильцов.
Как видите, нужно просто приложить руки – в постройке самодельных клеток для кроликов ничего сверхсложного нет.
Собираем каркас клетки для кроликов
Чтобы облегчить процесс кормления животных, клетку устанавливают на возвышении, сооружая дополнительную подставку. Высоту подбирают с таким расчетом, чтобы ухаживать за животными могли и взрослые, и дети. Чтобы иметь корм и сено под рукой, а также не искать дополнительного места для хранения продовольствия, каркас оборудуют вместительной полкой.

Клетки для кроликов чертежи
Для опорных стоек клетки понадобится деревянный брус сечением не менее 60×60 мм высотой 850 мм.

Клетка для кроликов своими руками пошаговая инструкция. Фото
При раскрое древесины не забудьте обрабатывать кромки реек. Это позволит избежать заноз и повысит эстетичность конструкции клетки для кроликов.
К основным стойкам крепят раму основания и опору для полки. Для этого саморезами прикручивают по четыре доски в верхней части каркаса и на расстоянии 372 мм от пола
Важно правильно выполнить разметку и следить за геометрией сооружения, используя столярный угольник и уровень. Должна получиться ровная, устойчивая конструкция без перекосов и кривых углов

Чтобы сделать клетку с дополнительным отделением, в передней доске верхней рамы делают аккуратный фигурный вырез. Вырезанную часть крепят на старое место при помощи рояльной петли. Узкая откидывающаяся деталь обеспечит доступ внутрь клетки в дальнейшем.

С внутренней стороны верхней и нижней рамы в качестве распорок монтируют дополнительные рейки. Они устраняют шаткость сооружения и служат опорой для настила, поэтому требуют особенно тщательной подгонки.

Клетка для кроликов своими руками пошаговая инструкция. Фото
В углах деревянных щитов или досок, используемых в качестве полки и основания клетки, делают вырез под опорные ножки. Щиты устанавливают на свои места, после чего считают работу на этом этапе завершенной.
Основные принципы, которым нужно следовать при создании крольчатника
Жилище для кроликов должно отвечать следующим требованиям:
- Подходящий температурный режим. Зимой температура не должна опускаться ниже 0 0С. При +14…+16 0С животные активно развиваются и размножаются. Минимальная температура в маточнике – +10 0С.
- Умеренное освещение в течение 16-18 часов. Нехватка света при закрытом содержании кроликов приводит к замедлению репродуктивных функций, развития и набора веса, снижению иммунитета животного. При длительном воздействии прямого солнечного света у питомцев развивается гипотермия, воспаляются слизистые и глаза. При уличном содержании крольчатник располагают в тени или организуют над ним специальный навес от солнца.
- Вентиляция воздуха. Специальная система притока и оттока воздуха необходима при закрытом или ямном содержании кроликов, на нижнем ярусе мини-фермы.
- Прочность. Конструкция должна быть крепкой, это необходимо учитывать при строительстве.
- Наличие гнезд. В маточнике необходимо сделать ёмкость для гнездования или отдельное гнездо с выходом.
В клетках из непрозрачного материала делают задние и крайние стенки по бокам. Межсекционные перегородки, передние стенки и дверь устанавливают из сетки. На полу прокладывают металлическую или деревянную сетку, оставляют место для поддона для сбора фекалий и остатков корма.

Обязательно почитайте:
Как сделать поилку для кроликов: 5 способов своими руками +фото
С наружной стороны в каждой секции крепится поилка и кормушка.
Подведем итоги
Теперь вы знаете множество самых популярных способов построения клеток для кроликов. Выбор подходящего вам варианта будет основываться на следующих нюансах:
- стартовом бюджете;
- кролиководческом опыте;
- регионе проживания;
- размере поголовья и т.д.

Главное требование — высокое качество конструкции
Так, например, клетки по методу мини-фермы Михайлова помогут максимально снизить трудозатраты и потерю времени на уход за животными, однако, поместить эту серьезную конструкцию внутрь сарая очень сложно, что делает использование сооружения в регионах с затяжными холодными зимами практически невозможным. К тому же, оборудование такой клетки требует денежных затрат и строительного опыта. Начинающим кролиководам будет не выгодно тратить столько денег, особенно если они не уверены, что захотят держать кроликов в течение долгих лет.
Клетки Золотухина не требуют больших финансовых затрат, но подразумевают, что количество содержащихся в них кроликов будет не малым. Поэтому этот вариант не совсем рационален для начинающих заниматься кроличьим бизнесом фермеров.
Мы советуем начать с простых вариантов, постепенно переходя к профессиональным, чтобы накопить самостоятельный опыт в уходе за животными.




















































