Устройство датчика света: на чём основан принцип действия фотореле
Прежде чем подключить светильник с фотоэлементом для уличного освещения, необходимо понять принцип работы самого датчика. Рассмотрим функционал устройства на примере фотореле ФР-7.
Фотореле модели ФР-7
При наступлении темноты группа контактов, расположенная внутри корпуса датчика, замыкается. Они включают осветительные приборы, которые находятся в единой цепи. Как только уровень дневного света «восстанавливается», происходит размыкание контактов и выключение ламп.
Таблица 1. Определение уровня освещённости при помощи фотоэлементов
| Изображение | Наименование элемента | Описание функции |
|---|---|---|
| Фототранзистор | Устройство предназначено для регулировки выходящего сигнала при попадании на чувствительный элемент естественного освещения | |
| Светодиод | Чувствительный элемент светодиодного устройства срабатывает под воздействием солнечных лучей по принципу фотогальванического эффекта | |
| Фотосимистор | Устройство выполняет функцию синхронизатора токов и передаёт их на рабочие электроды | |
| Фототиристор | Световой поток, попадая на чувствительный элемент устройства, передаёт заряд, который преобразуется в сигнал посредством специальной матрицы |
Обратите внимание, что подавляющее большинство датчиков (к примеру, фотореле ФР-2) имеет определённую выдержку – интервал по времени. Она необходима для исключения срабатывания устройств от поступления ложных сигналов
По этой причине следует избегать установки датчиков света вблизи искусственных источников.
Принцип выбора электрического щита
После составления схемы вы сразу можете увидеть, сколько нужно установить автоматов и УЗО в щиток. Многие современные щитки на сегодняшний день имеют модульное исполнение. Для сборки чаще всего используются элементы, кратные по ширине 18 мм. Соответственно каждый модуль, который присутствует в конструкции будет иметь ширину в 18 мм. УЗО или ДИФ-автомат будут занимать два модуля сразу. Вот основные принципы выбора, на которые необходимо ориентироваться:
- Размер необходимо выбирать с запасом. Это позволяет осуществить перенос щита в дальнейшем без особых проблем.
- Подбор следует осуществлять с учетом типа прокладки проводки в доме.
- Свое предпочтение лучше отдавать пластиковым моделям, так как они не проводят электрический ток.
Каким образом можно управлять уличным светом
На сегодняшний день существует несколько способов управления системой наружного светового обеспечения:
неавтоматическое или ручное. В таком случае используют коммутационный аппарат или шкаф управления наружным освещением. Такой щит может быть размещен в наиболее оптимальном месте для управления. Здесь все включения и выключения света в ночное время осуществляются обслуживающим персоналом;
Ручное управление светом (щиток)
с помощью фотореле. Сегодня фотореле представляет собой специальное устройство, которое может осуществлять включения и выключения подсветки при определенном уровне освещенности. По сути фотореле — светочувствительный автомат. Схема подключения фотореле мало чем отличается установки других установок в систему подсветке (датчиков движения и т.д.). Его контактор нужно установить в щит, а само фотореле выносят на улицу. Контактор всегда нужно помещать в этот ящик для защиты от влаги. В щит, для соединения двух элементов устройства вставляют катушку;
Схема подключения фотореле
датчики движения. Они часто выступают элементов охранной наружной системы. Здесь принцип управления светом (включения и выключения) будет практически аналогичен предыдущему. Различия кроятся лишь в управляемом устройстве, роль которого здесь выполняет датчик движения (инфракрасный, микроволновый и т.д.). Передача сигнала о движении здесь может осуществляться по радиоканалу. При этом блок управления наружным освещением не выносится в щит. Схема подключения здесь имеет следующий вид;
Датчик движения (схема подключения)
управление подсветкой с помощью таймера. На сегодняшний день применяются достаточно доступные по ценовой политике качественные таймеры, которые можно запрограммировать на включение света в определенное время. Очень часто такие устройства используются в наружной системе, освещая улицы и парки в ночное время суток.
Схема подключения таймера к светильникам
Как видим, на сегодняшний день существует значительное разнообразие способов управления наружной подсветкой.
Щитки питания переносных осветительных приборов
Для питания переносных светильников в помещениях с повышенной опасностью должно использоваться напряжение не более 50 Вольт. Для его преобразования следует использовать понижающие трансформаторы. Для таких трансформаторов производители выпускают специальные щитки, которые содержат в своем составе:
- понижающий трансформатор, который соответствует необходимому напряжению;
- автоматический выключатель для защиты обмотки высокого напряжения трансформатора;
- автоматические выключатели, которые защитят отводящие линии;
- розетку для подключения переносных светильников.

ЯТП-0.25
Кроме штатной розетки к корпусу могут подключать кабельные линии, ведущие к стационарным светильникам. Напряжение питания светильников не выше 12 вольт может использоваться в следующих случаях:
- Тесные помещения.
- При неудобном положении работника.
- Присутствует постоянный контакт работника с металлическими конструкциями.
Чтобы сэкономить свои средства установить понижающий трансформатор можно и в обычный щиток. Для этого выберите подходящую модель трансформатора и приступайте к установке.
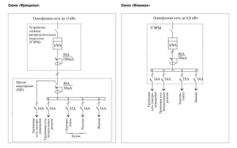
Квартира
Итак, если квартира старой постройки и, к тому же, однокомнатная (к примеру, хрущевка), тогда проект расключения электропроводки будет выглядеть следующим образом:


Однолинейный проект
Как Вы видите, в данной схеме подключения распред щитка нет PE шины, т.к. в старых хрущевках заземление отсутствует. Что касается элементов электросхемы, она состоит из двухполюсного автоматического выключателя, счетчика электроэнергии (Меркурий 201), УЗО и групповых автоматов. Один автомат обслуживает группу освещения, второй — розетки, ну и третий – стиральную машину. Если же у Вас присутствует контур заземления, тогда электрическая схема сборки распределительного щита в квартире будет выглядеть так, как показано в примере ниже.
Важно! Установка УЗО в двухпроводной электросети запрещена согласно ПУЭ п. 1.7.80 (см. Главу 1.7) и ряде других нормативных документов, поэтому этот вопрос вызывает множество споров
У каждого специалиста своё мнение на этот счет. С одной стороны совмещенный защитный и рабочий проводник рвать нельзя, с другой стороны без УЗО вообще никакого шанса на выживание не будет, если вы «хорошенько» влезете в «фазу». Установка УЗО в двухпроводную электросеть допустима как временная мера с будущим переходом на полноценную сеть с заземляющим защитным проводником (PE), типа – TN-C-S, TN-S
Главу 1.7) и ряде других нормативных документов, поэтому этот вопрос вызывает множество споров. У каждого специалиста своё мнение на этот счет. С одной стороны совмещенный защитный и рабочий проводник рвать нельзя, с другой стороны без УЗО вообще никакого шанса на выживание не будет, если вы «хорошенько» влезете в «фазу». Установка УЗО в двухпроводную электросеть допустима как временная мера с будущим переходом на полноценную сеть с заземляющим защитным проводником (PE), типа – TN-C-S, TN-S.

Пунктиром (1) обозначен корпус распределительного щита, (2) и (3) это нулевая и заземляющая шина. Четвертый элемент проекта – гребенка, которая соединяет автоматические выключатели. (5) – однофазное УЗО на 40 Ампер и ток утечки 30 мА, ну а (6) – групповые автоматы (3 по 16 Ампер и 1 на 25, для подключения варочной панели). На вводе установлен однополюсный автоматический выключатель, номиналом 40 Ампер. Самый нижний ряд электросхемы состоит из квартирных потребителей – группы освещения, розеток и мощных электроприборов (в нашем случае плиты).
Ну и бывают еще просторные квартиры с электрическим отоплением и группой мощных потребителей электроэнергии. В этом случае электросхема вводно-распределительного щитка будет более серьезной и по количеству автоматов не уступающей частному дому. Итак, к Вашему вниманию схема распределительного щита для квартиры улучшенной планировки:
При таком количестве потребителей электричества должна быть трехфазная сеть (380в) и на вводе, соответственно, трехполюсный автоматический выключатель на 63 Ампера. В остальном, дальше идет УЗО на 40 Ампер, группа автоматов на 16 и 25 Ампер (в зависимости от предназначения), ну и отдельное устройство защитного отключения для электропроводки в ванной комнате, с током утечки не больше 30 мА, согласно ПУЭ п. 7.1.38.
Также напомним, что для питания электроплиты должен применяться кабель с сечением токопроводящих жил не менее чем 6 кв. мм, согласно СП 256.1325800.2016 п. 10.2 (СП 31.110 – п. 9.2). При этом учитывайте реальную мощность электрической плиты и проверяйте достаточно ли 6 кв. мм. сечения.
Ориентируясь на предоставленные схемы подключения квартирного щитка, спроектируйте свой вариант и переходите к электромонтажным работам! О том, как собрать распределительный щит своими руками, мы уже рассказывали!
Выбор хорошего электрического щитка
Когда количество мест будет определено, следует подумать о конструкции изделия. Существует несколько типов щитков, выделяемых по способу монтажа:
- Навесные щитки, для которых не требуется подготавливать специальную нишу. Их можно просто навешивать на стену с использованием шурупов или анкеров. При установке щита на улице следует сделать его навесным. Если его монтируют в помещении, проводка должна быть открытой.
- Встраиваемые щитки – для таких устройств подготавливают нишу в стене. Подобные изделия монтируются исключительно в помещениях со скрытой проводкой.
Щитки нередко выполняются с корпусом из металла. Они изготавливаются разных типов – встраиваемые и навесные. Благодаря повышенной прочности корпуса они имеют определенное преимущество перед моделями из других материалов. Особенно часто их устанавливают на улице. Такие щитки гораздо проще защитить от вандалов. Уличные модели обычно оснащаются стеклянным окошком, которое позволяет считывать данные счетчика.
Щитки, выполненные из пластика, сегодня очень популярны. Они могут быть навесного типа или встраиваемого. Предназначаются такие устройства как для установки на улице, так и для монтажа внутри помещения. Благодаря большому разнообразию моделей их можно вписать практически во все интерьеры. Обычно они смотрятся очень эстетично. Однако спустя несколько лет белый пластик может стать желтым.
Существует несколько советов, как выбрать электрический щит:
Сперва следует обратить внимание на продавца. У проверенного поставщика можно приобрести сразу электрический щиток и модульное оборудование, и множество комплектующих
Лучше, если покупка будет осуществляться в большом магазине, в котором имеется довольно большой ассортимент
Таки продавцы заботятся о своей репутации, поэтому некачественную продукцию у них найти не получится.
Важно учитывать и производителя
Среди мировых брендов можно выделить Hager, Makel, ABB
Таки продавцы заботятся о своей репутации, поэтому некачественную продукцию у них найти не получится.
Важно учитывать и производителя. Среди мировых брендов можно выделить Hager, Makel, ABB. Однако существует и несколько проверенных отечественных производителей.
Каждый производитель предлагает щитки с разной комплектацией
Лучше выбирать изделия с богатым функционалом. У такого щитка рейки должны находиться в рамке, которую можно легко демонтировать. Такое конструктивное решение упрощает монтаж и демонтаж конструкции. Кроме того, следует выбирать щиток с правильной организацией и фиксирующим механизмом для входящих кабелей. Лучше, если в щитке будут органайзеры для кабелей, что позволит сэкономить пространство внутри конструкции
Однако существует и несколько проверенных отечественных производителей.
Каждый производитель предлагает щитки с разной комплектацией. Лучше выбирать изделия с богатым функционалом. У такого щитка рейки должны находиться в рамке, которую можно легко демонтировать. Такое конструктивное решение упрощает монтаж и демонтаж конструкции. Кроме того, следует выбирать щиток с правильной организацией и фиксирующим механизмом для входящих кабелей. Лучше, если в щитке будут органайзеры для кабелей, что позволит сэкономить пространство внутри конструкции.
Многие известные производители выпускают и сопутствующие товары – замки, гребенки, дверцы.
Ручное управление
Переход на ручное управление освещением осуществляется в следующих случаях:
- Для ремонта сети в дневное время.
- Для активации освещения при вышедшем из строя реле управления.
- Включение освещения в ситуациях, когда реле управления не срабатывает по заданным условиям.
На дверце или боковой поверхности осветительного щита размещаются переключатели, благодаря которым осуществляется переход на ручное управление. Выполнить ручное включение можно несколькими способами:
- Выключателем внутренней либо наружной установки.
- Переводом ключа ручного управления в одно из положений.
- Кнопочной станцией управления — промышленным вариантом.
Работа реле управления зависит от датчиков, располагающихся в максимально удобных местах. Нередко под щитами и осветительными опорами размещают фотореле. К схеме кабелями подключаются датчики при помощи клеммников, установленных на DIN-рейке.
Если нагрузка, подключенная к щитку наружного освещения, превышает максимально допустимую, то ее подключение осуществляется через пускатель. В таком случае реле отвечает за включение пускателя, который, в свою очередь, включает светильники.

Преимущества и недостатки использования фотореле для уличного освещения
Чтобы обеспечить необходимый уровень видимости во дворе дома и при этом не беспокоиться о постоянном включении и отключении электрооборудования, следует установить простой уличный светильник с датчиком освещённости. Устройство фотоэлемента имеет небольшую плату управления и корпус, поэтому оно не занимает много места и обладает незначительным весом. По этой причине датчик можно установить практически на любой поверхности.
Благодаря прибору достигается существенная экономия электроэнергии, поскольку расход её значительно меньше. Также к преимуществам использования фотоэлемента следует отнести:
- работу устройства при малых токах;
- высокую скорость срабатывания, в сравнении с механическими аналогами;
- большую производительность устройств;
- отсутствие механических контактов (что исключает быстрый износ оборудования);
- длительный период эксплуатации.
Наряду с преимуществами датчиков света, следует рассказать о существующих недостатках. В первую очередь необходимо тщательно проверять корпус устройства во время покупки на предмет герметичности. При её отсутствии внутрь корпуса может проникнуть влага и вызвать окисление контактов.
Герметичный корпус сумеречного фотодатчика
Также необходимо следить за тем, чтобы прибор не оплавлялся при работе и не имел механических повреждений.
Мнение эксперта
Виталий Панфилов
Инженер-проектировщик СС, ОС, СКУД (системы связи, охранно-пожарная сигнализация, система контроля управления доступом) ООО «АСП Северо-Запад»
Спросить у специалиста
“Грязный корпус фотодатчика препятствует нормальному проникновению лучей света. По этой причине необходимо всегда устройство содержать в чистоте.”
Это интересно: Как выбрать светодиодные лампы на 12 Вольт — рассказываем в общих чертах
Щитки для переносных осветителей

Ящик с понижающим трансформатором ЯТП
Согласно ПУЭ 7 (последнее издание) для переносных светильников, используемых в помещениях повышенной опасности, допускается применять питающее напряжение величиной не более 50-ти Вольт. Для его получения используются понижающие потенциал трансформаторы, преобразующие сетевые 220 Вольт в 12, 24, 36 или 48 Вольт.
Для обслуживания переносных осветителей выпускаются сборные щитки особой конструкции, в состав которых входят следующие узлы:
- преобразователь напряжения;
- автомат, используемый для защиты по входу;
- автоматы, защищающие отходящие к потребителю линии;
- розетка для подключения светильников переносного типа.
В некоторых моделях шкафов от вторичной обмотки трансформатора через автомат отводятся кабельные линии к стационарным светильникам, постоянно находящимся на одном месте.
Согласно ПУЭ, к опасным условиям, в которых использование переносных светильников обязательно, относятся работы, производимые в ограниченных пространствах:
- в траншеях (при укладке кабельных линий, например);
- в смотровых ямах и подвальных помещениях;
- внутри резервуаров и наливных цистерн;
- когда производитель работ находится в неудобном положении;
- при возможности соприкосновения с элементами заземляющих устройств.
Во всех перечисленных ситуациях допустимое напряжение не должно превышать 12-ти Вольт.
Управление освещением с использованием реле времени
Реле времени широко используются в схемах автоматики, в том числе для управления освещением.
Реле времени можно разделить на две большие группы:
- Программируемые реле времени — реле замыкает и размыкает свои контакты в соответствии с заданной программой;
- Таймеры — реле времени замыкает размыкает свои контакты на заданное время после приложения управляющего сигнала.
Программируемые реле времени и таймеры могут быть электронными и электромеханическими.
Программируемые реле времени могут быть с суточным (одна и та же программа повторяется каждые сутки), недельным (одна и та же программа повторяется каждую неделю) и годовым циклом (программа задаётся на год).
Базовая схема и принцип работы
Рассмотрим работу схемы управления освещением на базе программируемого реле времени, работающего по одной суточной программе.
Управление освещением при помощи реле времени. Базовая схема
Допустим, освещение должно быть включено ежедневно с 9:00 до 18:00. В реле времени устанавливаем текущее время и задаем программу, в соответствии с которой в 9:00 реле должно замкнуть свои контакты сроком на 9 часов. Ежедневно, при наступлении 9:00 реле времени KT1 замыкает свои контакты, силовая цепь оказывается замкнутой и освещение включено. Через 9 часов работа программы заканчивается и реле размыкает свои контакты — освещение отключается.
Схемы управления освещением нескольких линий при помощи реле времени
Для управления несколькими линиями по одной программе применяют реле времени в комбинации с контакторами. Контакторы включают и отключают питание, а реле времени управляет их работой.
Управление освещением при помощи реле времени и контакторов
Питание на катушки контакторов 1KM1, 2KM1, 3KM1 подаётся через трехпозиционный переключатель SA1 с нейтральным положением:
- В положении «Ручное» питание напрямую подаётся на катушки контакторов KM и они замыкают свои пары контактов, освещение включается в соответствии с заданной программой;
- В положении «0» цепь питания катушек контакторов разорвана и освещение отключено;
- В положении «Автомат» питание на катушки контакторов подаётся через контакты реле времени KT1. Включением и отключением освещения управляет реле времени, замыкая и размыкая свои контакты в соответствии с заданной программой.
При необходимости, можно дополнить схему сигнальной лампой HL, включенной параллельно катушкам контакторов, которая будет информировать о включении освещения.
Управление освещением с использованием реле времени для лестничных клеток
Для экономии электроэнергии и управления освещением с нескольких мест используют реле времени из группы таймеров. Данный тип реле замыкают или размыкают свои контакты после подачи на их катушку управляющего сигнала, замыкание или размыкание контактов происходит с заданной временной задержкой.
Основное применение данный тип реле времени нашёл в схемах управления двигателями и схемах АВР (автоматического ввода резерва), но для управления освещением также используется. Например, для управления освещением лестничных клеток.
Рассмотрим применение и работу реле времени для решения данной задачи:
- В начальный момент времени контакты реле KT1 разомкнуты, освещение отключено. Кнопки SB1, SB2… установлены на каждом этаже лестничной клетки и подключены параллельно к управляющим контактам реле времени KT1.
- При нажатии любую из кнопок SB, на катушку реле времени KT1 поступает управляющий сигнал, оно замыкает свои контакты, освещение включается, а реле времени начинает отсчет.
- По прошествии заданного времени реле KT1 размыкает свои контакты и освещение отключается.
- Если при замкнутых контактах реле (т.е. до истечения заданного времени) поступает новый управляющий сигнал, то отсчет времени начинается заново.
Управление освещением лестничных клеток с использованием реле времени
Таким образом, человек, заходя на лестничную клетку, нажимает кнопочный выключатель SB и включает освещение. На следующем этаже опять нажимает кнопку и т.д. Через заданное время освещение на лестничной клетке отключается. Настройка задержки отключения выбирается таким образом, чтобы человек достаточно времени, чтобы дойти от одного кнопочного выключателя до другого.
Данную схему можно также использовать для управления освещением в коридорах. Она позволяет организовать включение освещения с нескольких мест (как при использовании импульсного реле) и при этом ещё сэкономить электроэнергию.
Материалы
- Главная
- Материалы
- Осветительные щиты. Виды и способы применения
Вернуться в раздел
Осветительные щиты. Виды и способы применения
Свет способен оказывать большое воздействие на человеческий организм. Его недостаток приводит к потере настроения, депрессии, ослаблению иммунитета и обострению хронических болезней. Чтобы увеличить световой день и создать комфортные условия для работы и жизни используют искусственные системы освещения,функционирование которых осуществляется посредством электрощитового оборудования. Они работают через различные электрические источники и подразделяются на: рабочее, аварийное, охранное, эвакуационное и дежурное.
Предназначение и конструкция
Щит для рабочего типа подсветки улиц предназначен для:
- присоединения и контроля за системой освещения;
- защиты этой системы;
- коммутации электрических цепей системы подсветки, которые распределены по зонам.
Зоны щитка
Кроме этого такое оборудование имеет вводный автомат, обеспечивающий полное отключение устройства в определенных ситуациях. Из-за того, что к ЩАО могут иметь доступ не только специализированный персонал, но и обычные люди, в его устройство часто монтируется дополнительное оборудование, предотвращающие свободный доступ к токоведущим линиям. Также очень часто в конструкцию электрощитовой включаются специальные обозначения, которые содержат информацию о том, какое назначение имеется для каждой конкретной группы имеющегося оборудования.
Выбираем лучший
Помогут подобрать оптимальный, надежный и недорогой вариант следующие рекомендации:
- Пластиковые электрические щитки не прослужат более пяти лет, легко ломаются и повреждаются.
- Лучше приобретать автомат для каждой комнатной сети и отдельные — для мощных электроприборов.
- Конструкции на кодовых замках безопаснее, исключают возможность порчи или попадания к напряжению маленьких детей.
- Удобнее щитки, оснащенные универсальными дин-рейками.
Важно подумать и о дополнительной комплектации. Например, замках, световых индикаторах, влагоотталкивающих пропитках или усиленной изоляции

Купить силовой кабель ВВГнгls
Схема электропроводки в гараже — особенности проектирования и монтажа своими руками. 120 фото примеров разводки и видео инструкция по замене проводки в гараже
Какой провод использовать для заземления: расчет параметров, маркировка и назначение различных типов проводов (видео инструкция + 150 фото)
Классификация систем управления освещением
В 1980-х техническое освещение стало модернизироваться. Оно должно было стать более управляемым и энергоэффективным. Изначально, был создан аналог современной системы, который позволял контролировать флуоресцентный баланс и интенсивность освещения. Это был первый шаг к созданию полноценной системы управления освещением, однако аналог требовал большое количество кабельной проводки, что было экономически неэффективно. Tridonic стала первой компанией, которая сделала цифровой протокол передачи данных в 1991 году (DSI). DSI стал основным интерфейсом для передачи команд по изменению освещения всех подключенных световых приборов. В отличие от его аналогового, данный интерфейс предполагал упрощенную систему использования кабеля. Таким образом, существует два типа систем:
- аналоговая система управления освещением
- цифровая система управления освещением
Доп. услуги по электрике
- Электромонтажные работы в стиле ретро
- Современная электрика в стиле Модерн
- Проектирование электрики
- Электролаборатория
- Замер сопротивления изоляции
- Консультация электрика
- Установка и замена электросчетчика
- Установка столбов и опор ЛЭП
- Подключение электрического котла к сети
- Электрическое отопление дома
- Установка стабилизатора напряжения
- Установка электрического водонагревателя
- Заземление загородного дома
- Молниезащита
- Модульно-штыревое заземление
- Монтаж и прокладка СИП кабеля
- Монтаж тросовой электропроводки
- Соединение и удлинение электропроводки
- Штробление стен под электропроводку
- Проверка состояния электропроводки
- Электрика своими руками
- Монтаж и эксплуатация электрооборудования
- Замена лампочек …
- Поставка кабельной продукции
- Правила устройства электроустановок → ПУЭ
Размещение щитов
Специальные требования предъявляются к порядку размещения осветительных щитов, связанному с особенностями их монтажа.
- Шкафы устанавливаются в зонах, удаленных от канализационных, газо- и водопроводных коммуникаций не менее чем на один метр.
- Помещение щитовой должно быть надежно защищено от затопления. При невозможности обеспечить такие условия их следует размещать выше предполагаемого уровня воды.
- Щиты, предназначенные для наружного освещения, монтируются на высоте не менее чем 20 см от пола или бетонного основания.
- При возможности снежных заносов такие конструкции устанавливаются на специальном возвышении (фундаменте).
https://youtube.com/watch?v=fO2sSxk50h0
Советы по подключению
При установке и подключении фотореле необходимо знать некоторые нюансы, которые могут помочь значительно упростить вашу работу. Вот те из них, которые необходимо знать:
при подключении в систему сразу нескольких ламп, необходимо использовать специальный контроллер. Он будет получать сигнал от регулятора датчика, управляя таким образом освещением;
перед подключением фотореле нужно убедиться в том, что его мощностные характеристики подходят к сети
В противном случае датчик может перегореть;
при покупке устройства обратите внимание на способ его подключения. Так вы сможете выбрать более простой способ установки;
при монтаже прибора помните, что его минимальный предел срабатывания будет составлять 5 Люкс
Если не изменить параметров настройки, то свет станет автоматически включаться тогда, когда на улице будет еще светло;
в систему наружного освещения уличного типа вместе с фотореле можно подключать датчики движения и элементы охранной системы.
Руководствуясь такими несложными рекомендациями, любой человек сможет своими руками заняться установкой фотореле для создания у себя дома автоматизированной системы наружного освещения со всеми вытекающими из этого преимуществами.
Щит уличного освещения ЩО, щит наружного освещения ЩНО, щит (шкаф) управления наружного освещения ЩУНО (ШУНО) имеют одинаковое назначение – управление освещением наружных осветительных приборов, т.е включать с наступлением темноты (сумерек) и отключать освещение с рассветом.
Щит управления наружным освещением устанавливается в помещении, имеет 6 линий из которых две резервные. Сигнализация включения линий “Линия 1 . Линия 4” отображается светодиодным индикатором зеленого цвета. Наличие напряжение на ввода указывает индикатор желтого цвета “Сеть”.
Режимы работы ЩУНО определяется положением переключателя SA1 “Режим работы”:
– Отключено – Ручное – Таймер – Фотореле
В Ручном режиме управление освещением осуществляется простым включением или отключением контакторов при помощи кнопок “ВКЛ” “ОТКЛ” при положении переключателя SA1 в положении “Ручной режим”. В положении “Таймер” работа осуществляется по команде запрограммированного Таймера 1 (КТ1) Для работы щита в зависимости от освещенности применяется режим “Фотореле”, для этого необходимо отрегулировать момент срабатывания светочувствительного датчика (фотоэлемента) ФР, который устанавливается вне помещения. “Ночной режим” удобно использовать в том случае, если целесообразно для экономии электроэнергии оставлять дежурное освещение, а в остальное неактивное ночное время отключать освещение, т.е свет включается от фотореле (или от таймера КТ1 включается и выключается) и гаснет с наступлением рассвета. Но так ка нам нет необходимости держать включенным уличное освещение в период, к примеру, с часа ночи до 5 утра, для отключения устанавливаем таймер КТ2 на срабатывание в выбранное время. Ночной режим работает в положении переключателя SA1 “Таймер” или “Фотореле”. Автоматика включения и отключения. Для защиты линий от перегрузки по току служат автоматически выключатели на каждую линию. Тепловые реле КК1..КК6 в каждой линии как дополнительная защиты линии от перегрузок. Если во время работы необходимо обесточить линии, то они отключаются при помощи автоматических выключателей выбранной линии, для обеспеченной правильной сигнализации на автоматические выключатели ставятся контакт состояния, который электрически связан с индикацией на передней панели. Комплектация:
Выключатели автоматические трехполюсные, однополюсные 8 шт.; Фотореле ФР-М02 1шт.; Таймер SHT-1 2 штуки; Реле промежуточное 1 штука; Переключатели 4G10-108U, кулачковые 2 позиции черные C2SS2-30B-11 с фиксацией 1HO+1H3 2 шт.; Кнопки зеленая, красная возвратная 22мм 1но 2 шт.; Контактор E 12А катушка управления 220В АС3 50Гц 1НО 6 шт.; Реле тепловые TESYS E 5.5. 8A, TESYS E 9. 13A 6 шт.; Лампы CL-523G зеленая, желтая светодиодные 230V AC; Щит монтажный ЩМП 650х500х220 IP31.
Цена щита наружного освещения ЩУО 33000 рублей с НДС (уточняется на момент заказа).
Выбор и монтаж корпуса распределительного щитка
Следует сразу сказать, что сборку распределительного щита можно осуществлять двумя способами: стендовым или навесным. Первый метод предполагает монтаж корпуса щитка с предварительно установленными и соединенными по схеме модульными устройствами, ну а второй наоборот.
Принципиальной разницы между этими двумя способами нет — меняется только последовательность операций сборки и установки. Мы рассмотрим второй метод, при котором сначала монтируется корпус распределительного щитка, а затем выполняется установка модульных устройств, подключение к внутренней проводке и внешнему кабелю.

По виду корпуса щитков делятся на встраиваемые и навесные. Не будем расписывать достоинства и преимущества этих двух видов, только скажем, что в каждом конкретном случае необходимо выбирать оптимальный вариант. Навесной корпус прост в монтаже, а утапливаемый компактен, но его сложнее установить. Итак, выбор за вами! Размер корпуса зависит от количества модульных устройств и другого оборудования, которые необходимо установить в него.
Вот и все! Выбор сделан, корпус распределительного щита установлен в необходимом месте, в него заведен подающий кабель и провода внутренней разводки – пора приступать к сборке!
Конструкция щитка освещения
Требования к конструкции щитка освещения те же, что и к распределительному. Питание подводится через вводной автоматический выключатель или рубильник, рассчитанный на нагрузку всех осветительных приборов, подключенных к щитку. При использовании рубильника кабельную линию питания щитка обязательно защищают автоматическим выключателем. В этом случае в зону действия его защиты входит и электропроводка щитка до автоматов отходящих линий.
Типовое расположение элементов внутри щитка освещения
Каждая из отходящих линий защищается собственным автоматическим выключателем. Его номинальный ток выбирается по сумме токов подключенной нагрузки. Можно подключать несколько отходящих кабелей к одному автоматическому выключателю. Но в результате при ремонте линии освещения будет отключено большее количество осветительных приборов, чем требуется. Поэтому на количестве автоматов экономить не стоит.
Защита осветительной электропроводки и осветительных приборов устройствами защитного отключения (УЗО) не требуется.
Вся вновь проектируемая осветительная электропроводка выполняется трехпроводной. Для питания светильников используются фазный проводник и проводник рабочего нуля. В кабеле рабочий ноль имеет синий цвет жилы. Для заземления корпусов светильников используется проводник желто-зеленого цвета, входящий в состав трехжильного кабеля, называемый защитным (РЕ). Соединение корпусов светильников с нулевым проводником (зануление) запрещено.
Для подключения нулевых проводников в состав щитка входят две шинки: для подключения рабочих проводников (обозначается буквой N) и для подключения защитных проводников (обозначается буквами РЕ).
Если корпуса светильников изготовлены из непроводящих электрический ток материалов (пластика), а отражатель внутри корпуса – металлический, то заземлять отражатель не нужно. Но это не означает, что для питания светильника можно использовать двухжильный кабель. Кабель все равно прокладывается трехжильным, как и в случае с розеткой без заземляющего контакта. Светильник (или розетка) в процессе эксплуатации заменят на электроприбор другого типа, и защитный проводник потребуется.
Теперь рассмотрим особенности устройства специализированных осветительных щитков.
Заключение
После модернизации прошло несколько месяцев. За это время работа наружного освещения не вызывала каких-либо нареканий.
Как мне видится, даже в простейшем варианте (работа по cron) такой подход перекрывает потребности большинства подобных типовых задач в крупных коммерческих и административных зданиях. В плане экономической конкурентоспособности он тоже выглядит вполне достойно. Когда на объекте требуется более одного астрономического реле, реле времени и т. п., то их стоимость может быть вполне ощутимой. Кроме этого, чаще всего эти элементы управления разнесены по разным частям зданий и добиться их синхронной работы – не такая простая задача, как это может показаться.
Вариант с применением системы мониторинга может решать еще более интересные задачи. Кроме управления, он дает возможность контролировать работу оборудования и оповещать персонал при выявлении неисправностей. В качестве примера можно привести синхронное включение рекламных вывесок на фасаде торгового центра. А в случае неисправности какой-либо вывески оперативный персонал получит сообщение.
Конечно, все вышесказанное актуально при наличии какой-никакой IT инфраструктуры. Но, как правило, она имеется.
На этом все
Спасибо за внимание!





































